Шрифты и типографский сплав
Многие исследователи изюминкой изобретения Иоганна Гутенберга, его главной составляющей считают разработанную им технологию изготовления типографского шрифта. Работа эта весьма трудоёмка, ибо изготовлять пуансоны и матрицы приходилось для очень большого количества знаков, во много раз превышающего количество знаков латинского алфавита. Изобретатель изготовлял каждый алфавитный знак в большом количестве вариантов, чтобы как можно ближе имитировать рукописные почерка, чтобы печатная книга походила на рукопись. В любом случае, количество пуансонов, а значит, и матриц, приближалось к тысяче.
Свидетельство об этом у нас более позднее, но весьма наглядное. Работавший в Падуе мастер Леонгард Ахатес (Агтштайн) из Базеля писал в послесловии одной из своих вышедших в 1473 году книг, что он выгравировал тысячи пуансонов и сравнивал себя с древнегреческим скульптором Фидием, резавшим по слоновой кости. Сказано об этом было в шестистрочном дистихоне.
Какой металл или сплав металлов использовал Иоганн Гутенберг для отливки литер? По мнению Алоиза Руппеля, это был сплав, состоявший из 70 % свинца, 25 % олова и 5 % сурьмы. Таков же состав и современного типографского сплава — гарта. Свинец расплавляется при температуре 327°С. Олово более легкоплавко — оно становится жидким при 232°С. Вопреки мнению А. Руппеля, Гутенберг скорее всего отливал шрифт из чистого олова.
Древнейшее известное нам упоминание о типографском металле относится к 1474 году. В одной из книг Иоганна Цайнера — типографа, работавшего в городе Ульме, — сказано, что отпечатана она при помощи stagnis characteribus, то есть «оловянных литер». В описи 1499 года типографии Мейнгарда Унгута упомянуто «150 фунтов олова для литья литер». В стихотворении 1568 года Ганса Сакса, которое мы полностью приведём ниже, речь уже идёт о сплаве, включавшем олово, свинец и висмут. Но на Московском печатном дворе шрифт отливали из чистого олова ещё в XVII веке.
Древнейшие сохранившиеся до наших дней типографские литеры были найдены в 1878 году в Саоне неподалёку от французского города Лиона. Ныне они находятся в Парижской национальной библиотеке. Отлиты эти литеры были около 1479 года. Нам однако неизвестно, проводился ли химический анализ этих литер.
Старейшее техническое описание процесса отливки литер, а также сведения о составе типографского сплава мы найдём в девятой книге труда итальянского инженера Вануччо Бирингуччо (между 1473 и 1493 — после 1540) «О пиротехнике», изданной впервые в 1540 году в Венеции, а затем переизданного в 1550, 1558 и 1559 годах. Бирингуччо был родом из Сиены, города в центральной Италии. Он много путешествовал, жил в Германии, где дружил с прославленным художником Альбрехтом Дюрером. Многочисленные сведения о литейном деле и металлургии, о ювелирном мастерстве и химических производствах Бирингуччо сообщает из первых рук.
«Так как я не обладаю никакими другими указаниями, — пишет он, — кроме тех, которые я видел собственными глазами, то я могу говорить с уверенностью». Надо думать, что и словолитное дело итальянский инженер описывает не с чужих слов. О процессе тиснения матриц Бирингуччо сообщает: «Буквы выдавливаются в куске меди с помощью стального штампа». Словолитную форму он описывает в следующих словах: «Точно обработанный словолитный инструмент изготовляют из бронзы или из латуни. Он состоит из двух частей, подогнанных друг к другу таким образом, чтобы получить нужную величину высоты и ширины шрифта. Внутри форма сделана таким образом, чтобы в неё можно было вставлять матрицу». Сообщает Бирингуччо сведения и о составе типографского сплава: «3/4 высококачественного олова, 1/8 свинца и 1/8 сурьмы».
Пуансоны и матрицы, словолитная форма, состав типографского сплава, конструктивные и технологические приёмы которых были найдены в XV веке, в течение многих десятилетий принципиально не изменялись. Они служили человечеству не менее 400 лет — до тех пор, пока в середине XIX века в практику полиграфического производства не вошли шрифтолитейные машины.
Словолитная форма и другие элементы словолитного процесса
«Словолитная форма — ядро изобретения». В этих словах Ф. А. Шмидта-Кюнземюллера есть значительная доля истины. Действительно, книгопечатание не стало бы мощным средством распространения знаний без несложного приспособления для множественного воспроизведения литер. Размножение текстов могло стать относительно дешёвым лишь в том случае, если предварительно найден способ размножения типографских литер.

Принцип построения словолитной формы
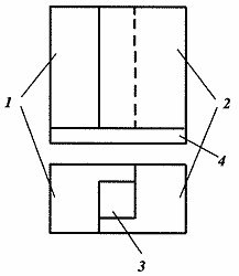
Какой была словолитная форма, применявшаяся Иоганном Гутенбергом, сказать трудно. Никаких сведений об этом не сохранилось. Можно лишь реконструировать принцип действия такой формы. В самом простом случае это были две Г-образные детали 1 и 2, составленные таким образом, что между ними возникала полость 3. Снизу полость закрывали матрицей 4 с прямым углублённым изображением шрифтового знака. Чтобы получить литеру, сверху в отверстие полости нужно было залить расплавленный металл.
Для осуществления принципиальной схемы необходимо было найти практичные инженерные решения ряда задач. Г-образные детали должны плотно прилегать друг к другу, а кроме того, иметь возможность смещения относительно друг друга для получения литер разной ширины. Необходимо было также разработать способ точного фиксирования матрицы, с тем чтобы очко будущей литеры не сдвигалось относительно линии строки.
Древнейшее изображение словолитной формы находим на гравюре 1568 года Иоста Аммана «Словолитец» из книги «Подлинное состояние всех состояний на земле». Это альбом, талантливые гравюры которого сопровождены неприхотливыми стихами Ганса Сакса. Под гравюрой, изображающей словолитца и озаглавленной Der Schrifftgiesser, помещено стихотворение, составленное из попарно рифмованных строк. Мы предлагаем его вниманию читателей в нашем прозаическом переводе:
Я отливаю шрифт для типографии
Из висмута, олова и свинца,
Который я могу точно юстировать.
Приводить буквы в порядок —
Латинского и немецкого начертания,
А также те, что встречаются в греческом языке
С версалиями, точками и штрихами,
Чтобы употреблять их в печатании.
Словолитец изображён Иостом Амманом в тот момент, когда он зачерпнул ложкой расплавленный металл из котла и заливает его в форму, представленную в виде небольшой усечённой пирамиды, стоящей на левой ладони мастера. Гравюра, конечно же, не претендует на техническую достоверность.

Словолитец. Гравюра И. Аммана. 1568 г.

Словолитная форма. Чертежи из книги Дж. Моксона
По словам Вануччо Бирингуччо, «словолитный инструмент изготовляют из бронзы или из латуни. Он состоит из двух частей, подогнанных друг к другу таким образом, чтобы получить нужную величину высоты и ширины шрифта. Внутри форма сделана таким образом, чтобы в неё можно было вставлять матрицу».
Первое технически грамотное описание словолитной формы, сопровождённое чертежами, мы находим в книге английского технолога Джозефа Моксона (1627–1700) «Механические упражнения, или Учение о ремёслах», изданной в Лондоне в 1683 году. Второй том этого труда, обильно иллюстрированного чертежами и схемами, посвящён типографскому делу. Книга увидела свет почти через 250 лет после изобретения Иоганна Гутенберга. Но известно, что ремесленная техника феодального способа производства в течение столетий оставалась неизменной. Поэтому можно предположить, что с середины XV и до конца XVII века словолитная форма изменилась мало.
*По Моксону, словолитная форма составлена из двух металлических деталей сложной формы — нижней и верхней. Деревянная рубашка b, прикреплённая к деталям, позволяла словолитцу брать форму в руки в момент заливки в неё расплавленного металла. Нижнюю и верхнюю части формы складывали таким образом, чтобы выступы с входили в пазы g. Пирамидообразный литник при этом образовывали скошенные плоскости d и е, а рабочая полость возникала между плоскостями а. К отверстию в нижней части полости прижимали матрицу fg с углублённым рельефным изображением Е шрифтового знака. Матрица фиксировалась плоскостями i, i формы. Точное положение очка обеспечивала юстировочная игла h, крепившаяся на поводке. Иглу вставляли в отверстие в задней плоскости матрицы.
Комплексно с оборудованием словолитной мастерской читатель может познакомиться по репродукции гравюры, которую мы заимствуем из четырёхтомного руководства по типографскому делу известного в своё время печатника и издателя Христиана Фридриха Гесснера (ум. 1756); руководство было издано в 1740–1745 годах в Лейпциге. К этому времени изобретению Иоганна Гутенберга исполнилось уже 300 лет, да и труд Гесснера был приурочен к празднованию этого юбилея. Но мы думаем, что технология словолитного производства за эти долгие годы изменилась мало. Труд Гесснера по обыкновению тех лет имел длинное название: «Необходимое и полезное книгопечатное искусство и шрифтолитейное дело с его шрифтами, форматами и всеми относящимися к этому делу инструментами, изображённое и понятно описанное, а также краткий рассказ о происхождении и развитии книгопечатания, особенно же о типографах в Лейпциге и других городах Германии, которые через 300 лет после изобретения представлены миру».

Оборудование словолитной мастерской. По гравюре из книги Х. Ф. Гесснера. 1740–1745 гг.
*В левой части гравюры изображена печь, в которой плавился типографский сплав. Представлен — в правой нижней части рисунка — и поперечный разрез плавильной печи. На печи и на расположенном рядом столе лежат различные инструменты словолитчика. Мы видим здесь и ложку, которой зачерпывали расплавленный металл и заливали его в словолитную форму. На полу около печи стоят различные ёмкости для слитков отдельных компонентов сплава. Словолитная форма изображена в верхнем правом углу гравюры. Она состоит из двух частей с выступами а и b, образующими литниковое отверстие. Металлические части словолитной формы помещены в деревянную рубашку h, предохранявшую руки словолитчика от ожога. В полости формы есть выступ g, благодаря которому на литере образуется сигнатура — поперечное углубление на ножке, помогающее наборщику определить правильное положение литеры при наборе. При отливке матрицу l помещают между направляющими в нижней части формы. Положение матрицы фиксируется иглой s, установленной на гибком поводке r. Между двумя частями формы на гравюре изображена только что отлитая литера р с литником q, который отпиливали, предварительно зажав литеру в тисках.